AEC-Q認證是國際汽車電子領域的準入門檻
1994 年,克萊斯勒、福特和通用汽車三大主機廠為建立一套通用的零件資質及質量系統標準而設立了汽車電子委員會 AEC(Automotive Electronics Council),符合AEC規范的零部件均可被三家車廠同時采用。此舉推動了汽車零部件通用性的實施,為車載電子市場的快速增長奠定基礎。目前AEC會員遍及全球各大汽車廠與汽車電子和半導體廠商,AEC-Q為AEC組織所制訂的車用可靠性測試標準。
目前,AEC-Q 標準已被整個汽車行業廣泛認可和采用,獲得 AEC-Q 認證的企業將在日益激烈的市場競爭中搶占先機,成功打入各大主機廠和一級供應商的供應鏈。
汽車電子元器件供應商需要對產品做相應的AEC-Q認證,并提供相關數據,由元器件用戶進行審核;同時,汽車電子供應商在做AEC-Q驗證之前,也要充分了解用戶的使用情況(Mission Profile)。
AEC-Q認證適用產品
|
標準認證
|
六大標準名稱
|
適用產品
|
|
AEC-Q系列標準
|
AEC-Q100集成電路
|
控制類芯片、驅動類芯片、計算類芯片、存儲類芯片、傳感類芯片、通信類芯片、功率類芯片、電源類芯片、安全類芯片、模擬芯片等。
|
|
AEC-Q101分立半導體器件
|
二極管、齊納二極管、穩壓二極管、整流二極管、TVS管、MOSFET、IGBT等
|
|
AEC-Q102光電半導體器件
|
車用LED、激光器件、激光二極管、激光三極管、光電二極管/三極管、光電耦合器、OE-MCM
|
|
AEC-Q103MEMS傳感器
|
MEMS壓力傳感器、MEMS麥克風器件
|
|
AEC-Q104多芯片組件
|
-
混合集成放大器(前置、脈沖、高頻放大器等)
-
電源組件(DC/DC、AC/DC變換器、EMI濾波器等)
-
功率組件(功率放大器、電動機伺服電路、功率振蕩器等)
-
數/模、模/數轉換器(A/C、D/A轉換器等)
-
軸角-數字轉換器(同步機-數字轉換器/分解器、雙數轉換器等)
-
信號處理電路(采樣保持電路、調制解調電路等)
|
|
AEC-Q200無源元件
|
鉭電容器(MnO2和聚合物)和鈮電容器、保險絲、電阻、電磁器件(電感/變壓器)、網絡(R-C/C/R)、薄膜電容器、熱敏電阻器、可調電容器/電阻器、壓敏電阻、聚合自恢復保險絲、石英晶體、陶瓷諧振器、鐵氧體EMI干擾抑制器/過濾器、超級電容器、鋁電解電容器、陶瓷電容器
|
AEC-Q100的常見問題
1、芯片參加 AEC-Q100 測試認證需要做哪些準備?
芯片需要確認以下信息:
·Wire Bonding及其材質
AEC-Q100標準中包含了與Wire Bonding相關的測試項(如WBS、WBP)。車規芯片內部是否存在Wire Bonding決定了是否需要執行這些測試項。此外,Wire Bonding的材質也至關重要,金線參考AEC Q100標準,而銅線(含銅)則在AEC- Q100的基礎上增加了AEC-Q006的要求。
·應用等級
車規芯片的應用等級根據其在汽車中使用的環境溫度進行劃分,等級從0(最高)到3(最低)。應用等級決定了測試認證時參考的具體測試條件。
·濕度敏感等級(MSL)
濕度敏感等級(MSL)的選取應參考JESD22-A113/J-STD-020標準。車規芯片的濕度敏感等級最低要求為MSL 3。
2、每一款芯片都需要參加AEC-Q100的所有測試項嗎?
AEC-Q100 測試認證包含多個項目,但并非所有芯片都需要參加所有測試項,有些測試項是為特定類型的芯片“量身定制”的,例如:
·B3 EDR僅針對非易失性存儲芯片/含非易失性存儲模塊的芯片
·C5 SBS僅針對BGA封裝芯片
·E10 SC僅針對智能電源管理芯片
·E11 SER僅適用于≥ 1Mbit的SRAM和DRAM
·G組測試僅針對內含空腔封裝的產品
3、如何判斷一款芯片是否要做功率溫度循環(Power Temperature Cycling, PTC)測試?
PTC測試針對那些在預期應用中功率耗散反復變化≥1瓦特且功率上升時間<0.1秒而導致結溫變化≥40oC的芯片,如用于感應負載的智能功率開關。
4、有哪些測試涉及到硬件/夾具制作?
AEC-Q100標準中涉及硬件/夾具制作的主要有THB/HAST、PTC、HTOL、ELFR、EDR、ESD、EMC、MS、VFV等。
5、靜電放電測試(ESD)和閂鎖測試(LU)要求是什么?
ESD測試包括人體模型(HBM)和機器模型(CDM),針對不同類型和頻率的芯片有不同的電壓要求。LU測試則是針對信號Pin和電源Pin的過壓測試。
6、家族系列產品是否都需要通過完整的AEC Q100測試認證?
不需要。AEC-Q100提供了關于通用數據使用的指導原則,允許在系列中的一個代表產品成功完成資格認定后,通過關聯性使系列內其他產品(除ESD、LU、ED)獲得資格認定。只需根據系列內產品與代表產品的差異,依據AEC-Q100 Table 3(見下表)執行必要的補充測試即可。
AEC-Q100 測試流程
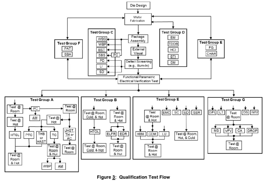
下文將圍繞AEC-Q100標準,簡單介紹其測試流程,以及各個測試項的測試原理,旨在讓讀者了解各個測試項考核的內容以及大致的原理,具體的測試規范和方法將不在此展開深入介紹。
從Test Flow中可以看出,AEC-Q100測試項包含A/B/C/D/E/F/G共七組,各組測試項的考核側重點不同,覆蓋了從Wafer到封裝后的產品。
E組實驗項
D組實驗項
C組實驗項
F組實驗項
E組實驗項
A組實驗項
B組實驗項
G組實驗項
車規芯片變更,如何通過AEC-Q100驗證?
AEC-Q100是汽車電子委員會(AEC)制定的一系列標準之一,專為汽車電子組件的質量認證而設計。當某款車規芯片發生變更時,此時需根據AEC-Q100 3.2.2的要求,執行必要的測試項目,以確保變更后的芯片能夠滿足車規要求。
變更項目驗證流程
以ASSEMBLY中New Package為例:
按照標準要求,需要對以下22項(視芯片參數選取)進行測試并確保通過,從而證明芯片符合車規認證要求。
A組(含PC):THB、AC、TC、PTC、HTSL
B組:HTOL、ELFR
C組:WBS、WBP、SD、PD、SBS、LI
E組:HBM、CDM、ED、SC、LF
G組:MECH、DS、IWV
如果芯片的變更僅限于表面字符,那么僅需補測C組中的SD即可。對于其他類型的變更,以ASSEMBLY中Wire Bonding為例,則需要補測以下項目:
A組(含PC):THB、AC、TC、PTC、HTSL
C組:WBS、WBP
E組:ED、SC、LF
G組:MECH
綜上
變更驗證的基本原則是清晰識別具體發生變更的內容,然后對照AEC-Q100標準中的測試項目表格,選定必要的補測項目并執行。只有當所有選定的測試項目都通過時,才能證明新樣品符合車規認證。
北測芯片測試能力及AEC-Q100整體技術要求

關于北測
北測集團(以下簡稱"NTEK")成立于2009年,總部位于深圳,主要從事智能網聯汽車、電子通信、新能源的研發驗證、檢驗檢測、失效分析、仿真模擬和市場準入等質量研究技術服務。
北測擁有豐富的車規級電子認證經驗,已成功幫助100多家企業順利通過AEC-Q系列認證,通過AEC-Q100對每一個芯片個案進行嚴格的質量與可靠度確認。
北測集團以車企車規芯片國產化需求為牽引,依托國產半導體產業基礎,提供完善的檢測認證服務,通過AEC-Q100車用標準嚴格把控汽車芯片安全質量,助力國產車規級芯片大力發展,為打造智能汽車安全體系再添新動力。